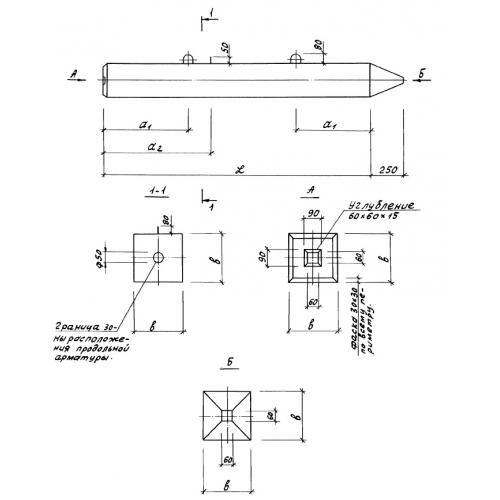
СЦп 8-30
Характеристики изделия:
| Параметр | Значение |
|---|---|
| длина | 8000 мм |
| ширина | 300 мм |
| высота | 300 мм |
| масса | 1830 кг |
| нормативный документ | Серия 1.011-6 |
Цена:
Рассчитать стоимостьСЦп 8-30 Свая квадратного сечения без поперечного армирования ствола (центральное армирование высокопрочной проволокой) (Серия 1.011-6).
